schemat instalacji elektrycznej od klimatyzacji

667e
Posty: 8
Rejestracja: 2004-12-19 13:07

schemat instalacji elektrycznej od klimatyzacji

Post autor: 667e »

Mam prośbę, gdzie moge znależdz schemat od instalacji elektrycznej do klimy. Mam tam zwrcie w instalacji elektrycznej ale nie wiem gdzie mam tego szukać?
Awatar użytkownika
OLEY
Klubowicz
Posty: 12763
Rejestracja: 2004-10-07 22:17
Samochód: I Gen 3.0 V6 Vulcan '90
Lokalizacja: Szczecin

Post autor: OLEY »

Znaczy wywala Ci bezpiecznik tak?
A klima nabita? Bo często jest tak, że jak dłuższy czas nie była nabita,
a jak nie nabita, to pompa Ci się nie załączy, a jak pompa się dłuższy czas nie załącza, to potem po wciśnięciu AC wywala bezpiecznik.
Może to bardziej problem pompy niż elektryki?
Chociaż, oczywiście mogę się mylić.
[o]Piękno nie zna ceny.[/o]
Awatar użytkownika
Robert
Posty: 12613
Rejestracja: 2004-10-21 19:12
Samochód: Probe GT2.0'89; ForTwo 0.6turbo; HRV 1.6
Galeria: viewtopic.php?t=6900
Lokalizacja: Leszno (maz)
Kontakt:

Post autor: Robert »

A schematy można znaleźć np. na płytce na jakimś zlocie - od grudnia 2004 trochę ich już było...
Poświęć niecałe 2 minuty na naukę korzystania z forum: :arrow: Lekcja 1 (bardzo krótka) i :arrow: Lekcja 2 (krótka)
Obrazek ObrazekObrazek'89 2.0 Turbo downgrade
667e
Posty: 8
Rejestracja: 2004-12-19 13:07

Post autor: 667e »

problemy się zaczeły gdy probek został z włączonymi światłami na 5h .
jak chciałem go potem odpalić to okazało się że połowa bezpieczników łącznie z głównym przepaliła się .probek tearaz jezdzi ale cały czas gdzieś jest zawarcie i przepala bezpiecznik od klimy a obroty na biegu jałowyn dochodzą do 2tyś klima wcześniej działała .
Awatar użytkownika
Jedrek
Posty: 1134
Rejestracja: 2004-06-24 10:19
Samochód: Igen 1992 2,2GT
Lokalizacja: Ośno Lubuskie
Kontakt:

Post autor: Jedrek »

A kiedy Ci podnosi obroty? Jak się klima załącza?

Wyciągnij bezpiecznik od klimy i sprawdź czy bez niego też się obroty podnoszą - zresztą zawsze tak jest że jak obciążysz silnik to komp automatycznie zwiększa obroty.

Może być tak że się przekaźnik zapiekł i klima jest na stałe włączona.
Fioletowy FORD PROBE I czywiście GT + LPG OMVL DREAM XXIN:):):):):)
Yamaha Xj 550 `83
Kawasaki ZZR600 `98
był: † Black Ford Frobe 2,2 Turbo GT `92 + LPG OMVL DREAM XXIN † A.D. 08.12.2006 Death! ;(
Awatar użytkownika
Robert
Posty: 12613
Rejestracja: 2004-10-21 19:12
Samochód: Probe GT2.0'89; ForTwo 0.6turbo; HRV 1.6
Galeria: viewtopic.php?t=6900
Lokalizacja: Leszno (maz)
Kontakt:

Post autor: Robert »

Chyba nie, skoro wywala bezpiecznik i 667e podejrzewa zwarcie, to pewnie bezpiecznik jest momentalnie przepalany, więc klima nie ma wpływu na obroty.
I który bezpiecznik - pod maską, czy w kabinie?
Poświęć niecałe 2 minuty na naukę korzystania z forum: :arrow: Lekcja 1 (bardzo krótka) i :arrow: Lekcja 2 (krótka)
Obrazek ObrazekObrazek'89 2.0 Turbo downgrade
667e
Posty: 8
Rejestracja: 2004-12-19 13:07

Post autor: 667e »

dokładnie momentalnie go przepala to ten pod maską 40a i tam podejrzewam zwarcie chciał bym prześledzić całą instalacje od klimy ale bez schematu instalacji nie wiem gdzie mam szukać.
Awatar użytkownika
OLEY
Klubowicz
Posty: 12763
Rejestracja: 2004-10-07 22:17
Samochód: I Gen 3.0 V6 Vulcan '90
Lokalizacja: Szczecin

Post autor: OLEY »

A może masz ten sam problem, co miałem ja:

:arrow: http://www.fordprobe.pl/forum/viewtopic ... k+air+cond
[o]Piękno nie zna ceny.[/o]
Awatar użytkownika
Roswell
Posty: 441
Rejestracja: 2006-09-01 11:12
Galeria: viewtopic.php?t=9688
Lokalizacja: Ustroń

Post autor: Roswell »

Podepnę się do tematu, czy włączanie nienabitej(z pękniętą rurką) klimy(a konkretnie nawiewu na szybę) w jakiś sposób szkodzi(sprężarka lub coś innego)? Jeśli to ma jakieś znaczenie to jest to jeszcze klima na ten stary gaz(numerku jak zwykle nie pamiętam :P ).
Probe II 2.0 93 USA

Jeżeli wsadzę ci palec do oka, to ty masz palec w oku i ja mam palec w oku, ale to nie to samo
Awatar użytkownika
Indi
Posty: 97
Rejestracja: 2004-09-06 19:31
Samochód: brak
Lokalizacja: Opole

Post autor: Indi »

Roswell pisze:Podepnę się do tematu, czy włączanie nienabitej(z pękniętą rurką) klimy(a konkretnie nawiewu na szybę) w jakiś sposób szkodzi(sprężarka lub coś innego)?
Nie jest zabezpieczenie w takim przypadku i klima się po prostu nie załączy. Ale może się dostać wilgoć do układu, a to nie jest wskazane.
Ford PROBE Blue 2.5 V6 96r.
Ford PROBE Black 2.0 16v 95r.
Takie były teraz jest taki
Ford PROBE Red 2.5 V6 96.r 72Kkm
Obrazek
Obrazek
Awatar użytkownika
Roswell
Posty: 441
Rejestracja: 2006-09-01 11:12
Galeria: viewtopic.php?t=9688
Lokalizacja: Ustroń

Post autor: Roswell »

Indi pisze:
Roswell pisze:Podepnę się do tematu, czy włączanie nienabitej(z pękniętą rurką) klimy(a konkretnie nawiewu na szybę) w jakiś sposób szkodzi(sprężarka lub coś innego)?
Nie jest zabezpieczenie w takim przypadku i klima się po prostu nie załączy. Ale może się dostać wilgoć do układu, a to nie jest wskazane.
Co do tej wilgoci to układ jest narażony cały czas czy tylko podczas ustawiania pokrętełka na klime?
Probe II 2.0 93 USA

Jeżeli wsadzę ci palec do oka, to ty masz palec w oku i ja mam palec w oku, ale to nie to samo
Awatar użytkownika
Indi
Posty: 97
Rejestracja: 2004-09-06 19:31
Samochód: brak
Lokalizacja: Opole

Post autor: Indi »

Roswell pisze:z pękniętą rurką)
Czyli masz nieszczelność i do dopóki nie usuniesz, to cały czas układ jest narażony bez względu położenia trybu nawiewu. Przy nabijaniu powinni Ci odwilgocić układ klimy.
Ford PROBE Blue 2.5 V6 96r.
Ford PROBE Black 2.0 16v 95r.
Takie były teraz jest taki
Ford PROBE Red 2.5 V6 96.r 72Kkm
Obrazek
Obrazek
Awatar użytkownika
Roswell
Posty: 441
Rejestracja: 2006-09-01 11:12
Galeria: viewtopic.php?t=9688
Lokalizacja: Ustroń

Post autor: Roswell »

Indi pisze:
Roswell pisze:z pękniętą rurką)
Czyli masz nieszczelność i do dopóki nie usuniesz, to cały czas układ jest narażony bez względu położenia trybu nawiewu. Przy nabijaniu powinni Ci odwilgocić układ klimy.
Tak wiem, ale narazie nie mogę naprawić :( Naprawda chyba dopiero na przełomie kwietnia/maja, a chciałem zapytać, bo myślałem że nie mogę używać nawiewu na szybę a jak zaczną parować czasami to bez tego jest kiepsko hehe
Probe II 2.0 93 USA

Jeżeli wsadzę ci palec do oka, to ty masz palec w oku i ja mam palec w oku, ale to nie to samo
Voodoo
Posty: 1604
Rejestracja: 2005-02-06 18:23
Galeria: viewtopic.php?t=5493
Lokalizacja: Grodzisk Mazowiecki
Kontakt:

Post autor: Voodoo »

Najprostszy sposób bezpiecznego korzystania z nawiewy bez potrzeby załączania sprężarki klimy, to po prostu odpiąć wtyczkę zasilającą sprzęgło sprężarki. Ot, cała filozofia. Wilgoć dla nieszczelnego układu może być nawet zabójcza dla niektórych elementów, a dostające się zanieczyszczenia mogą szybko doprowadzić w późniejszym czasie do większych uszkodzeń.
Układ ogólnie jest zabezpieczany przez dwa presostaty. Jeden po niskiej stronie ciśnienia, drugi po wysokiej. Dodatkowo sterowanie odbywa się przez przekaźnik. Uszkodzenie któregoś z wymienionych elementów spowoduje, że klimatyzacja nie ma prawa się załączyć.
ObrazekFord Probe 2.0 '94r.
Awatar użytkownika
Roswell
Posty: 441
Rejestracja: 2006-09-01 11:12
Galeria: viewtopic.php?t=9688
Lokalizacja: Ustroń

Post autor: Roswell »

Voodoo pisze:Najprostszy sposób bezpiecznego korzystania z nawiewy bez potrzeby załączania sprężarki klimy, to po prostu odpiąć wtyczkę zasilającą sprzęgło sprężarki. Ot, cała filozofia. Wilgoć dla nieszczelnego układu może być nawet zabójcza dla niektórych elementów, a dostające się zanieczyszczenia mogą szybko doprowadzić w późniejszym czasie do większych uszkodzeń.
Gdzie zlokalizować wtyczkę?
Rurka ma małe pęknięcie przy górnej części silnika więc jakieś specjalne zanieczyszczenia nie powinny się dostawać :) W zakładzie z klimą dowiedziałem się że dla osuszacza nie będzie to w żaden sposób szkodliwe :wink:
Probe II 2.0 93 USA

Jeżeli wsadzę ci palec do oka, to ty masz palec w oku i ja mam palec w oku, ale to nie to samo
Voodoo
Posty: 1604
Rejestracja: 2005-02-06 18:23
Galeria: viewtopic.php?t=5493
Lokalizacja: Grodzisk Mazowiecki
Kontakt:

Post autor: Voodoo »

Roswell pisze:Gdzie zlokalizować tą wtyczkę?
Od sprężarki odchodzi tylko jeden przewód. Idź po przewodzie w stronę chłodnicy a znajdziesz wtyczkę :)
ObrazekFord Probe 2.0 '94r.
Awatar użytkownika
Robert
Posty: 12613
Rejestracja: 2004-10-21 19:12
Samochód: Probe GT2.0'89; ForTwo 0.6turbo; HRV 1.6
Galeria: viewtopic.php?t=6900
Lokalizacja: Leszno (maz)
Kontakt:

Post autor: Robert »

Akurat wątek o wtyczkach radia nie był najszczęśliwszy...

Z drugiej strony doprowadziłem do dziwacznej sytuacji, gdy odpowiedź poprzedza pytanie :roll: - tylko to już nie wina pytającego ;)

Leib Garde pisze:Podłączę się do tego tematu, chciałbym dowiedzieć się co to za wtyczka - wisi sobie przy chłodnicy, po lewej stronie patrząc od przodu auta, poniżej korka odpowietrzającego układ chłodzenia. Czy ta kostka tuż pod nią to gniazdo dla tej wtyczki?? Jak na razie nie zauważyłem żadnych efektów ubocznych spowodowanych tą nie podłączoną wtyczką, ale nie jeździłem za wiele, bo auto jeszcze nie zarejestrowane...
http://www.fotosik.pl/pokaz_obrazek/2b1 ... 46332.html
Poświęć niecałe 2 minuty na naukę korzystania z forum: :arrow: Lekcja 1 (bardzo krótka) i :arrow: Lekcja 2 (krótka)
Obrazek ObrazekObrazek'89 2.0 Turbo downgrade
Awatar użytkownika
Leib Garde
Posty: 52
Rejestracja: 2008-07-27 23:36
Samochód: brak
Lokalizacja: Wrocław

Post autor: Leib Garde »

Dzięki za przeniesienie do właściwego wątku.

Z początku zgłupiałem bo moje auto nie ma klimy :roll: ale okazało się że ta czarna kostka to po prostu mocowanie chłodnicy, więc kabelek nie jest podpięty bo po prostu nie ma gdzie go podpiąć, nie jest potrzebny :wink: mam nadzieję że dobrze rozumuję.
Krzysiek
czarne Probe II 2.0 16V 95r.
Voodoo
Posty: 1604
Rejestracja: 2005-02-06 18:23
Galeria: viewtopic.php?t=5493
Lokalizacja: Grodzisk Mazowiecki
Kontakt:

Post autor: Voodoo »

Zgadza się, to wtyczka od klimy. A skoro Twój Probe jej nie ma to niech sobie dalej wisi :)
ObrazekFord Probe 2.0 '94r.
Awatar użytkownika
matix84
Posty: 218
Rejestracja: 2009-09-10 21:24
Samochód: był Ford Probe II, 2,5 V6 '94 163KM
Galeria: viewtopic.php?t=16857
Lokalizacja: Wrocław
Kontakt:

Re: Klimatyzacja - problem

Post autor: matix84 »

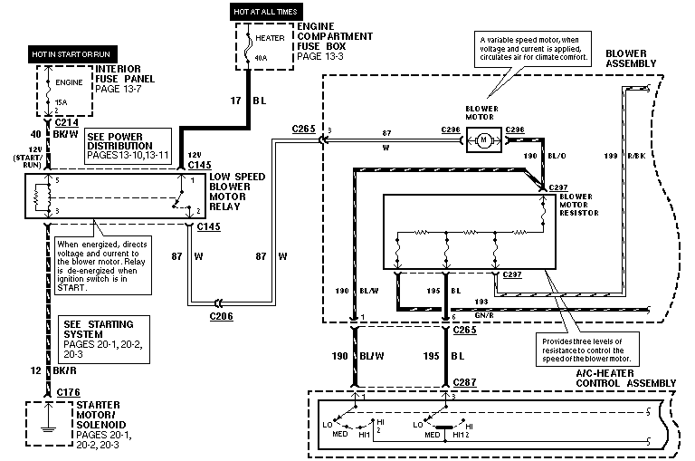
Robert, a masz może schemat do 2,5 V6?
Klima Systems - Chłodnictwo, Klimatyzacja, Wentylacja, Elektryka, Automatyka
www.klima-systems.pl
Awatar użytkownika
Robert
Posty: 12613
Rejestracja: 2004-10-21 19:12
Samochód: Probe GT2.0'89; ForTwo 0.6turbo; HRV 1.6
Galeria: viewtopic.php?t=6900
Lokalizacja: Leszno (maz)
Kontakt:

Re: Klimatyzacja - problem

Post autor: Robert »

Zamiast pytać, czy mam, napisz, czego konkretnie potrzebujesz. :idea:
Kto ma, ten na pewno wrzuci, jak przeczyta.
Poświęć niecałe 2 minuty na naukę korzystania z forum: :arrow: Lekcja 1 (bardzo krótka) i :arrow: Lekcja 2 (krótka)
Obrazek ObrazekObrazek'89 2.0 Turbo downgrade
Awatar użytkownika
matix84
Posty: 218
Rejestracja: 2009-09-10 21:24
Samochód: był Ford Probe II, 2,5 V6 '94 163KM
Galeria: viewtopic.php?t=16857
Lokalizacja: Wrocław
Kontakt:

Re: Klimatyzacja - problem

Post autor: matix84 »

Potrzebuję schematu instalacji elektrycznej klimatyzacji w Probe 2,5 V6...
Klima Systems - Chłodnictwo, Klimatyzacja, Wentylacja, Elektryka, Automatyka
www.klima-systems.pl
Awatar użytkownika
Robert
Posty: 12613
Rejestracja: 2004-10-21 19:12
Samochód: Probe GT2.0'89; ForTwo 0.6turbo; HRV 1.6
Galeria: viewtopic.php?t=6900
Lokalizacja: Leszno (maz)
Kontakt:

Re: schemat instalacji elektrycznej od klimatyzacji

Post autor: Robert »

Przy okazji - [r]przeniosłem do bardziej pasującego wątku.[/r]
94_1.GIF
94_2.GIF
94_3.GIF
94_4.GIF
94_5.GIF
Poświęć niecałe 2 minuty na naukę korzystania z forum: :arrow: Lekcja 1 (bardzo krótka) i :arrow: Lekcja 2 (krótka)
Obrazek ObrazekObrazek'89 2.0 Turbo downgrade
ODPOWIEDZ

Wróć do „II gen (1993 - 1997)”